Архив журнала Моделист-Конструктор

|
НА СТАРТЕ РАДИОГОНОЧНАЯКаждый автомоделист на своем опыте познал множество проблем, связанных с развитием его любимого вида спорта. Особенно если он занимается радиоуправляемыми. Отсутствие аппаратуры, надежных массовых двигателей, невозможность угнаться за непрерывным ростом качества и, главное, сложности «фирменных» изделий (последние как будто специально рассчитаны на невозможность воспроизведения в любительских условиях) это только небольшая часть вопросов, с которыми приходится сталкиваться нашим спортсменам.
Однако, несмотря на трудности развития автомоделизма, интерес к таким классам не ослабевает. И возникают решения, позволяющие даже спортсменам-одиночкам держаться, как говорится, на уровне. Главное при этом отвлечься от завораживающего влияния «идеальных» промышленных вариантов и не забывать, что возможности конструкторского поиска действительно неисчерпаемы.
Сегодня мы представляем модель кандидата в мастера спорта В. Артамова, которая может служить примером оправданного отступления от «фирменных» образцов. При всей эффективности конструкторских находок эта микромашина рассчитана на использование самых доступных двигателей, аппаратуры и других материалов.
Итак, слово автору...
* * *
Прежде всего о положении в классе «электричек», об уровне, достигнутом в этом занимательном виде моделизма на мировой спортивной арене. Вот основные характеристики электромобилей, считающихся образцами последних лет: масса готовой к старту модели от 1,1 до 1,4 кг, скорость 35-40 км/ч (может достигать и 50 км/ч), минимальные радиусы поворотов без потери сцепления с трассой около 1,7 м при максимальной скорости, мощность двигателя 120 160 Вт. Параметры блока питания, составленного, как правило, из специальных кадмий-никелевых аккумуляторов, следующие: напряжение от 6 до 9,6 В, емкость блока 1,2 1,4 А ч. При подаче предельного напряжения двигатель дает около 13,5 тыс. об/мин, наиболее распространенное передаточное число редуктора в пределах от 1:3 до 1:4.
Таковы характеристики лучших фирменных микромашин. А теперь посмотрим, что мы с вами можем заложить в свою разработку, ориентируясь на приведенные данные.
Прежде всего возникает проблема выбора двигателя. Да, есть модельные электромоторы, выпускаемые отечественной промышленностью, с требуемыми характеристиками. Но, к сожалению, их так мало, что серьезно говорить об их массовом применении не приходится. Поэтому можно пойти по другому пути вместо одного поставить на модель... четыре моторчика! Это, казалось бы, вынужденное решение имеет целый ряд преимуществ. Разом снимается вопрос не только о поисках мощного двигателя, но и о том, какую схему привода избрать для новой модели. Только самую прогрессивную с четырьмя ведущими колесами. Но, возразите вы, это же сразу чрезвычайно усложнит механику, потребует изготовления множества прецизионных деталей. Как раз это и не понадобится. Дело в том, что предлагаемый вариант имеет самостоятельный привод на каждое колесо. Вот вам и полноприводная схема, по сути имеющая все три дифференциала классической супермодели!
Немаловажно и еще одно достоинство четырехмоторника низкий уровень помех, излучаемых электродвигательной установкой в целом. В данной разработке двигатели максимально удалены от приемника, и каждый из четырех сам по себе «фонит» значительно меньше одного классического, но четырехкратно более мощного.
Новая микромашина имеет и принципиальное отличие от фирменных образцов по шасси. Если известные конструкции базировались на листовой раме из дюралюминия толщиной 1 мм, стеклотекстолита толщиной 1,5 мм или двухмиллиметрового капрона, то основа предлагаемой модели несложная по форме рама-пластина из дюралюминиевого листа толщиной 4 мм. Никаких замысловатых фигурных вырезов-окон, никаких «лесов» стоек и надстроек, минимум крепежа, который в большинстве случаев теперь предусматривает нарезку резьбовых гнезд прямо в пластине шасси. Система подрессоривания сохраняется лишь для заднего моста, причем рассчитана она на хорошо зарекомендовавшую себя на кордовых моделях схему с резиновым вкладышем. Применение резины частично компенсирует недостаток пружинной амортизации, приближая ее по действию к современным пружинно-гидравлическим, какими оборудуются все без исключения промышленные микромашины.
На нашей модели используется приемник от аппаратуры отечественного производства «Супранар», с которого сняты два ненужных сервоусилителя, а оставшиеся платы перемонтированы в металлический корпус-экран. Вызывающие столько заслуженных нареканий рулевые машинки упразднены. Ведь они представляют собою лишь моторчик с редуктором и ненадежным согласующим резистором. В автомодельном варианте гораздо надежнее, экономичнее по потреблению тока, быстроходнее и проще предложенная руль-машинка из одного лишь двигателя ДК-5-19 с ходовым винтом. При этом согласующее сопротивление связывается напрямую с осью одного из передних колес и напрямую же «отсчитывает» угол его поворота! Никаких люфтов в промежуточных звеньях, появляется возможность использовать более подходящие марки переменных резисторов. А в целом резкое упрощение всего узла с одновременным повышением надежности его работы.
Очень интересно задумана система регулирования оборотов силовых моторов. Да, можно было бы собрать электронный регулятор или переключатель групп аккумуляторов. Однако наиболее заманчивой показалась система, похожая на механический импульсатор дискретных радиоаппаратур. За счет использования подобного сверхпростого механического устройства можно избежать установки ненадежных высоконагруженных электронных регуляторов (ремонт и настраивание которых, кстати, абсолютно невозможны в «полевых» условиях, на соревнованиях). Предложенный вариант барабан с выполненной на его цилиндрической поверхности токопроводной вставкой. Смонтировав его на любом из ходовых электродвигателей (сопротивление вращению этого механизма столь мало, что не учитывается при подборе редуктора силовой передачи), сбоку подводят мощную подвижную щетку-токосъемник. Достаточно соединить движок щетки с винтовым штоком второго рулевого двигателя ДК-5-19, как регулятор будет готов! Токопроводный «лепесток» на цилиндре барабана должен не доходить до одного из торцов, чтобы при введении щетки в эту зону силовые моторы обесточивались. В другом крайнем положении щетки прерывания подачи тока вообще не должно происходить (полный «газ»), для чего «лепесток» в этой зоне полностью замыкается, превращаясь в ровный цилиндр.
Вариант барабана с наклеенным «лепестком» из медной фольги ненадежен. Самое хорошее выточить медную заготовку-цилиндр, обрезать лишние поверхности такой трубки, после чего либо смонтировать деталь на предварительно подготовленную текстолитовую основу, либо залить все эпоксидной смолой в оправке и обточить деталь на станке.
На приведенных рисунках радиогоночная представлена в «учебном» варианте с нефорсированными двигателями ДИ-1-2 и блоком питания, представляющим собой комплект из восьми круглых батарей «343». При применении форсированных моторов той же марки (о них неоднократно рассказывалось в «М-К» в материалах по электролетам и судомоделям) можно эапитывать «ходовики» от такого же блока, но для увеличения числа заездов без смены питания лучше перейти на аккумуляторы.
Вообще, кроме работ над силовой установкой, в остальном новая схема модели чрезвычайно универсальна и гибка. Достаточно вспомнить о возможности создания чисто переднеприводной гоночной или же остановиться на классической заднеприводной схеме. Может быть, кого-то привлечет трехмоторный вариант с неразрезной осью задних колес. В любом случае перейти на новый вариант проще простого! Да и регулировка параметров шасси и системы управления не представляет трудностей, Даже схождение задних колес, которое некоторые спортсмены считают нужным, но недостижимым из конструктивных соображений фактором, удастся задать на такой микромашине, И желание перейти на любые другие силовые микродвигатели не поставит перед конструктором особых проблем. В этом смысле подобная техника из-за многовариантности может считаться незаменимой для условий самостоятельного создания радиогоночных.
ОПИСАНИЕ ПРОТОТИПА
Основой для копирования был выбран гоночный автомобиль «Чапарраль» 2F. Изящные, стремительные очертания кузова, достаточные внутренние объемы, простота обводов и оригинальность внешнего вида, приданная антикрылом значительного размера, вот его «плюсы» как прототипа.
«Чапарраль» 2F машина, выставленная в 1967 году для соревнований в формуле «6» фирмой «Чапарраль Карс» и являвшаяся дальнейшим развитием удачной модели 2D.
Машина оборудовалась двигателем рабочим объемом 5,3 л и автоматическим сцеплением. Кроме других конструкторских новинок, инженеры фирмы применили антикрыло, регулируемое по углу атаки во время движения. Решение оправдало себя, и через пару лет подобными системами были снабжены многие европейские гоночные автомобили.
Антикрыло через стойки опиралось на подвеску задних колес. Во время прохождения поворотов и при торможении оно переставлялось на отрицательный угол, создавая значительную прижимающую силу, а во время разгона оставалось «в горизонте». При этом благодаря опоре на колеса крыло всегда было параллельно уровню дороги вне зависимости от крена автомобиля на поворотах.
Максимальная мощность восьмицилиндрового V-образного двигателя достигала 525 л. с. при 6000 об/мин. Кузов стеклопластиковый, из этого же материала делалась и рама шасси. Соединение отдельных элементов на заклепках. Подвеска трапециедальная с поперечными качающимися рычагами и спиральными пружинами. Амортизаторы гидравлические, применялись и стабилизаторы. Диски колес из магниевого сплава несли широкопрофильные покрышки фирмы «Фирестоне».
При окраске копии важно не сделать ошибки и не использовать в качестве основного цвета чисто белый. Автомобиль покрывался светлой, цвета «слоновой кости», краской и имел матово-черные элементы отделки. Эмблема фирмы-спонсора («птичка» на бортах кузова за нишами передних колес) светло-голубая, в белом обрамлении. Стартовый номер «1» и буква «Р» (прототип) черные на белом фоне, вокруг которого выполнена узкая черкая обводка. Радиаторы рыже-коричневого цвета. Обрамление фар и диски колес чистый металл, центральные гайки колес черные. Интерьер салона отделан черными материалами, ремни безопасности коричневые.
|

|
Гоночный автомобиль «Чапарраль» 2F: 1 окна выхода охлаждающего воздуха из каналов радиаторов, II бортовые заборники воздуха охлаждения, III откидная дверь и приборная панель, IV интерьер салона. Чертежи подготовлены по материалам журнала «Моделар», ПНР. |

|
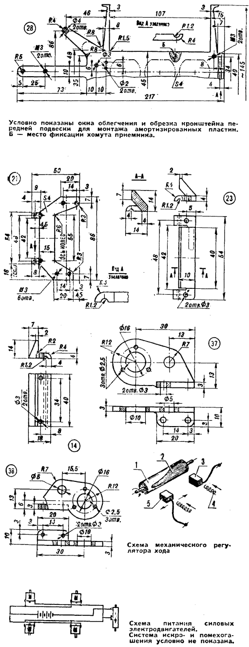
Радиоуправляемая автомодель с электроприводом: 1 кузов (выклейка из стеклопластика), 2 предохранительный спойлер (листовой капрон), 3 узел переднего ведущего поворотного колеса с форсированным до 40 Вт двигателем ДИ-1-2, 4 поводок рулевой трапеции (он же поворотный кулак и кронштейн для установки двигателя, Д16Т), 5 ползун-гайка (капрон), 6 ходовой винт М4Х0.35, 7 упорная шайба, 8 микроэлектродвигатель ДК-5-19, 9 кронштейн шарнирной установки двигателя (латунь), 10 ось подвески двигателя с накладкой (приклепать к корпусу двигателя), 11 приемник (корпус стальной, габаритные размеры переделанного приемника 45X55X60 мм), 12 хомут фиксации приемника со стойкой крепления кузова, 13 блок питания аппаратуры, 14 кронштейн резинового амортизатора (Д16Т), 15 резиновый трубчатый амортизатор подвески заднего моста, 16 правый узел заднего колеса с установленным на оси силового двигателя ротором регулятора хода, 17 проволочное усиление контура (заклеить при формовке кузова), 18 микродвигатель ДК-5-19 для привода механизма перемещения щетки регулятора, 19 ходовой винт, 20 левый узел заднего колеса, 21 пластина заднего моста (Д16Т, 4 мм), 22 кронштейн поддержки вала ротора, 23 кронштейн моста (Д16Т), 24 ушки навески силового блока питания, 25 элементы кассеты для элементов питания, 26 элемент № 343, 27 оттяжка для фиксации блока питания, 28 пластина шасси (Д16Т, 4 мм), 29 возможный вариант кронштейна передних колес, допускающий применение эластичных листовых деталей и подвески с введением резиновых шайб-амортизаторов, 30 проволочная поперечная тяга, 31 усиливающая проволочная перемычка осей колес, 32 место установки сопротивления обратной связи системы радиоуправления, 33 ось качания заднего моста (проволока ОВСØ2,4 мм), 34 стойка, 35 резиновые трубчатые амортизаторы передней подвески, 36 стойка антикрыла, 37 правый кронштейн задней подвески, 38 левый кронштейн задней подвески. |

|
Схема механического регулятора хода: 1 ротор (эпоксидная смола с медным элементом). 2 токосъемная поверхность медного элемента, 3 неподвижная щетка подвода тока к регулятору, 4 пружина поджима щетки, 5 подвижная щетка.
Чертежи для печати
|