Архив журнала Моделист-Конструктор
|
МЕНЕСТРЕЛЯМ И БАРДАМВ редакционной почте тоже есть свои чемпионы. Пусть вас это не удивляет ведь ее вполне можно рассматривать как соревнование предложений, интересов и вкусов наших читателей. И если бы когда-нибудь были подсчитаны очки в этом состоянии, то в «первую тройку» вошла ЭЛЕКТРОГИТАРА.
А после того как в 11-м номере нашего журнала за 1967 год была помещена фотография прекрасного инструмента конструкции Геннадия КЕБУРИЯ и 3аура ЛОБЖАНИДЗЕ, поток «электромузыкальных» писем принял размеры просто угрожающие.
Выполняя просьбы читателей, мы публикуем описание электрогитары, созданной на Центральной станции юных техников Грузинской ССР.
ЭЛЕКТРИЧЕСКАЯ ЧАСТЬ
Гитара состоит из усилителя низкой частоты, акустического агрегата и блока питания. Кроме того, на самом корпусе устанавливается темброблок и предварительный усилитель со своим питанием (батарейка «Сатурн» или др.) и выключателем.
Параметры УНЧ следующие: выходная мощность 8 вт; коэффициент нелинейных искажений не более 1%; полоса усиливаемых частот 50 18 000 гц; регулировка тембра раздельная по высшим и низшим частотам.
ПРИНЦИПИАЛЬНАЯ СХЕМА
Усилитель (см. 1-ю стр. вкладки) собран на лампах 6Н2П (первый и второй каскады), 6Н2П (третий каскад и фазоинвертор) и 6П14П (двухтактный ультралинейный оконечный каскад).
Напряжение сигнала через компенсированный регулятор громкости (R1 С1 С2) поступает на сетку первого каскада, выполненного на левом по схеме триоде лампы 6Н2П (Л1). Второй каскад усилителя собран на правой части той же лампы. Благодаря отсутствию конденсаторов, шунтирующих резисторы R3 и R7, каждый каскад охвачен отрицательной обратной связью по току, что уменьшает искажения усиливаемого сигнала.
Между вторым и третьим каскадами усилителя включены два регулятора тембра, раздельно по низшим (R10) и высшим (R9) частотам. Это позволяет изменять громкость звука и тембр гитары в очень широких пределах. Положение ручек потенциометров R1, R9 и R10 нужно отрегулировать при настройке гитары, а громкость и тембр во время игры можно подбирать потенциометром, установленным в темброблоке на самой гитаре.
Третий усилительный каскад охвачен двумя отрицательными обратными связями. Одна, как и в предыдущих случаях, возникает на резисторе R14, не зашунтированном конденсатором, вторая охватывает все три последних каскада. Сигнал обратной связи со вторичной обмотки выходного трансформатора через резистор R22 подается на катод левой половины Л2. В результате мы получаем значительно улучшенную фазовую характеристику.
Фазоинверторный каскад выполнен по схеме с расщепленной анодной нагрузкой. Здесь сопротивление анодной нагрузки разбито на две равные части, одна из которых включена в цепь анода, а другая в цепь катода. За счет этого на них возникают сигналы, равные по величине, но сдвинутые по фазе на 180°.
Оконечный двухтактный каскад на двух лампах 6П14П собран по ультралинейной схеме.
В блоке питания переменное напряжение снимается со всей первичной обмотки силового трансформатора (220 в) и выпрямляется мостом, собранным на диодах Д1 Д8. Вторичная обмотка силового трансформатора используется для питания накала ламп. При включении усилителя в сеть 127 в первичная обмотка работает как автотрансформатор, обеспечивая 220 в переменного тока для питания мостового выпрямителя. На выходе выпрямителя включен обычный П-образный LC фильтр.
|

|
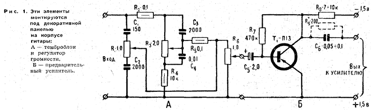
На рисунке 1, А изображена схема темброблока. который с предварительным усилителем расположен в корпусе гитары под декоративной панелью. Схема предварительного усилителя (рис. 1, Б) была опубликована в журнале «Моделист-конструктор» № 4, 1967 год.
КОНСТРУКЦИЯ И ДЕТАЛИ
Усилитель монтируется на металлическом (стальном или дюралевом) шасси несколько необычной формы. Это позволяет сделать усилитель более плоским и обеспечить хорошее охлаждение нагревающихся деталей.
На передней панели усилителя (см. 1-ю стр. вкладки), выполненной из оргстекла, расположены ручки управления громкостью, тембром и выключатель питания. На боковых стенках размещены: слева выходные гнезда, а также гнезда питания, справа гнезда входа. Но такая компоновка усилителя, конечно, необязательна и зависит в основном от вашего вкуса и возможностей.
Выходной трансформатор Тр2 собран из пластин Ш-25; толщина пакета 40 мм. Каркас трансформатора разделен картонной перегородкой на две равные части, в одной из которых располагаются секции 1—2 и 2—3, а в другой 3—4 и 4—5 первичной обмотки. Секции 1—2 и 4—5 содержат по 1100, а 2—3 и 3—4 по 400 витков провода ПЭЛ-0,18. После намотки первичной обмотки выступающая часть перегородки срезается и обмотка изолируется. Затем на нее наматывается вторичная обмотка 6—7 из 62 витков провода ПЭЛ-0,86.
В качестве силового трансформатора Тр1, для уменьшения габаритов использован накальный трансформатор от телевизора «Рекорд». Сердечник его выполнен из пластин УШ-19, толщина 28 мм, сетевая обмотка содержит 1640 витков с отводом. Между точками 1 и 2 намотано 890 витков провода ПЭЛ-0,23. Между точками 2 и 3 750 витков провода ПЭЛ-0,2. Макальная обмотка содержит 53 витка провода ПЭЛ-1,2.
Для уменьшения фона на макальную обмотку силового трансформатора подано постоянное напряжение +20 в. Оно поступает от делителя напряжения на резисторах R32, R33 на среднюю точку резисторов R34, R35.
Выпрямитель собран по мостовой схеме на диодах Д7Ж (Д7Г, ДГ-Ц24). В каждое плечо моста включено по два диода.
Дроссель Др1 (от телевизора «Рубин») собран на сердечнике из пластин УШ-12, толщина набора 18 мм. Обмотка содержит 2250 витков провода ПЭЛ-0,12. Сопротивление ее постоянному току составляет 130 ом.
|

|
Большое влияние на качество звука оказывает расположение громкоговорителей, то есть акустическая система. В нашем варианте это довольно большая конструкция (рис. 2), выполненная из 12-миллиметровой фанеры. Передняя и боковые поверхности обтянуты декоративной тканью. Торцы днища и крышки и поверхность крышки обработаны нитрошпаклевкой и покрашены нитрокраской серого цвета. Внутренняя поверхность боковых и задней стенок покрыта звукопоглощающим материалом поролоном, войлоком или ватой.
НАЛАЖИВАНИЕ УСИЛИТЕЛЯ
Если в вашем распоряжении есть тестер, осциллограф и звуковой генератор (ЗГ), то усилитель может быть налажен отлично. Но в крайнем случае достаточно иметь тестер и проигрыватель с грампластинкой.
Как всегда, настройку надо начать с проверки монтажа. После этого можно включить усилитель в сеть, предварительно убедившись, что переключатель напряжения установлен правильно. Теперь проверьте работу выпрямителя и напряжение на электродах ламп.
Регулировка усилителя начинается с последнего каскада. К его выходу подключается акустическая система и вход «У» осциллографа. Затем, установив частоту ЗГ равной 1000 гц, через конденсатор емкостью 0,01—0,05 мкф подаем этот сигнал на управляющую сетку сначала одной, затем второй 6П14П. Величину амплитуды колебаний подберите такую, чтобы на экране осциллографа получилась чистая синусоида, а громкость звучания была наибольшей. По величине синусоиды на экране осциллографа можно судить, одинаковы ли сигналы, даваемые каждой из ламп 6П14П. Если они отличаются, то либо надо подобрать одинаковую по параметрам пару ламп 6П14П, либо, если это не поможет, проверить число витков выходного трансформатора. Для этого, выключив усилитель из сети, подайте поочередно сигнал с ЗГ на каждую половину выходного трансформатора.
Если на выходе сигналы разной величины, то трансформатор намотан неправильно. Если в выходном каскаде на катоде напряжение сильно занижено, то проконтролируйте величину резистора R20 и испытайте на пробой или утечку конденсатор С11.
Следующим проверяется фазоинверторный каскад (правая половина 6Н2П). Лучше всего его объединить с третьим каскадом усилителя (левая половина той же лампы), так как они влияют друг на друга. Если режимы ламп 6Н2П соответствуют указанным на схеме, то через конденсатор 0,01 0,05 мкф на управляющую сетку левого триода подается сигнал 1000 гц с звукового генератора. С помощью осциллографа проверьте форму сигнала на аноде левого триода. При этом резистор обратной связи R22 лучше отключить. Затем, если сигнал не искажен, посмотрите его форму и амплитуду на аноде и катоде правой половины 6Н2П. Сигналы должны быть равны по величине и не искажены. Если же при постепенном увеличении входного сигнала на аноде и на катоде сигналы не одинаковы и искажение возникает сначала на одном, а потом и на другом электроде фазоинвертора, то, значит, режим этой лампы нужно еще регулировать подбором резистора R11.
Предположим, что сигналы на выходе фазоинвертора не равны по амплитуде. Значит, надо выпаять резисторы R15 и R16 и проверить их сопротивления: они обязательно должны быть одинаковыми.
Теперь можно снова установить в схему резистор R22, то есть включить цепь обратной связи, которая подается со вторичной обмотки выходного трансформатора на катод третьего каскада усилителя. Сигнал на выходе должен ослабнуть. Если он стал сильнее или даже появилась генерация, то надо поменять концы вторичной обмотки выходного трансформатора.
Налаживание цепей раздельной регулировки тембра сводится только к проверке монтажа, так как схема должна сразу работать нормально.
Первые два каскада усилителя при правильной сборке также не требуют специальной настройки.
При соединении громкоговорителей надо их правильно сфазировать. Для этого после сборки акустического агрегата на его схему подается напряжение от батарейки карманного фонаря. В момент включения все диффузоры должны двинуться в одну сторону. Если диффузор одного из громкоговорителей окажется «нарушителем», то надо поменять местами идущие к нему провода.
ЭЛЕКТРОМАГНИТНЫЙ ЗВУКОСНИМАТЕЛЬ
В своей конструкции мы использовали электромагнитный звукосниматель, который имеет достаточную мощность, прост в изготовлении и надежен в работе.
Принцип действия этой несложной системы заключается в следующем: магнитная система с одной или несколькими катушками располагается под тем или иным участком колеблющейся стальной струны. В результате колебаний происходит изменение магнитного поля, которое вызывает в обмотке появление переменней э. д. с.
|

|
Существует несколько способов изготовления электромагнитных звукоснимателей. Например, звукосниматель, изображенный на рисунке 3, состоит из отдельных стержневых магнитов с катушками, расположенных под каждой струной инструмента (в шестиструнной электрогитаре расстояние между ними равно 10 мм). Магниты плотно вставляются в отверстия, просверленные в стальной пластинке. При их установке надо внимательно следить за правильным чередованием полюсов. Катушки наматываются до заполнения проводом ПЭЛ-0,05 и соединяются между собой последовательно. Общее сопротивление их составляет 2500—3000 ом (сопротивление каждой катушки 500 ом). Если диаметр намотанных катушек не дает возможности установить их в одну линию так, чтобы между центрами катушек расстояние было 10 мм, тогда их можно расположить так, как показано на рисунке 3.
Очень важно учесть возможность вертикальной регулировки магнитов, которая позволяет увеличить или уменьшить зазоры между струнами и концами магнитов. Таким образом можно выровнять звучание всех струн, подчеркнуть или ослабить звук одной из них.
Для стержней нужно брать магнитотвердые материалы: магнико, анко-4, альни, альниси. Можно также использовать готовые магниты от негодного электродинамического громкоговорителя, корректирующие магниты от кинескопов и постоянные магниты, которые установлены в демпферной части стрелки в электромагнитных приборах (амперметре, вольтметре) Э-30, Э-31 и т. д. Все эти материалы (кроме последних) обрабатываются на шлифовальном станке.
В звукоснимателях неплохо работают и магнитные системы от телефонов ТОН-1 и ТОН-2 и особенно ТА-4. Технология изготовления в этом случае очень проста. Например, для шестиструнной гитары могут быть использованы магниты с катушками от трех телефонов (каждый из них должен иметь две катушки). Расстояние (8,5—9 мм) между центрами наконечников, слегка их отогнув, надо довести до 10 мм.
Еще одна конструкция звукоснимателя из старых головных телефонов (рис. 4). Их электромагнитные системы с последовательно соединенными катушками монтируются на гетинаксовой плате.
|

|
Рис. 4. Звукосниматель, изготовленный из старых головных телефонов: 1 магнит; 2 катушка; 3 сердечник, 4 гетинаксовая плата; 5 выводы.
При конструировании гитары следует учесть, что шасси и другие металлические части могут оказаться под высоким напряжением сети (220 в), так как питание усилителя гитары производится через автотрансформатор. Поэтому нужно постараться изолировать все металлические части, которые могут оказаться под напряжением. А еще лучше питать электрическую часть гитары не через автотрансформатор, а через трансформатор с раздельными обмотками.
К. ЦОТАДЗЕ, Р. ЧАРГЕЙШВИЛИ, г. Тбилиси
|

|
КРАСОТУ МЫ ДЕЛАЕМ САМИ
Как ни важны в гитаре ее «профессиональные» качества тембр, громкость, мелодичность звучания, это еще далеко не все. Без красоты и изящества нет музыкального инструмента так же, как не может быть библиотеки без книг. Гитару, радующую не только слух, но и глаз, вы можете сделать сами от начала до конца. А как? Мастера из Грузии раскрывают и этот «секрет».
Корпус гитары можно выпилить из прессованной фанеры или хорошо выдержанного дерева (лучше всего бук) толщиной 25—28 мм.
Поверхность корпуса надо тщательно обработать напильником и наждачной бумагой, а затем зашпаклевать все неровности нитрошпаклевкой.
Следующий этап зачистка поверхности мелкозернистой наждачной бумагой. Делается это так: оберните наждачной бумагой, время от времени смачивая ее в бензине, небольшой деревянный брусок и с легким нажимом потрите им корпус. После этого нитрошпаклевку надо растворить в ацетоне, слегка обдуть корпус пульверизатором и опять зачистить наждачной бумагой, смоченной в бензине.
Теперь гитару можно окрасить, используя для этой цели обычный пульверизатор. Краска, растворенная в ацетоне, должна покрывать корпус в 4 5 слоев. Чтобы поверхность была блестящей, а не матовой, обработайте ее полировочной пастой № 290.
ОСНОВНЫЕ ДАННЫЕ ГИТАРЫ:
Длина 980 мм
Изготовить гриф сложнее, чем корпус, поэтому лучше взять его от какой-либо старой гитары. В этом случае необходимо учесть, что расстояние от подставки для струн до 12-го лада должно быть равно расстоянию от 12-го лада до верхнего порожка (рис. 1). Еще надо помнить о том, что для шестиструнной гитары ширина грифа у верхнего лада 43—44 мм, в конце грифа 50—55 мм, что гриф сверху чуть округлен.
|

|
Рис. 1. Гитара с усилителем и акустической системой: 1 корпус; 2 гриф; 3 регулируемая подставка; 4 звукосниматель; 5 регуляторы громкости и тембра; 6 кабель к усилителю; 7 головки для крепления ремня; 8 декоративная панель; 9 включатель питания предварительного усилителя; 10 подключение звукоснимателя непосредственно к УНЧ.
В самодельном грифе разбивку ладов вам придется провести самим. Делается это следующим образом: выбрав мензуру (расстояние от верхнего порожка до подставки), делят ее на 17,8. Полученная величина равна расстоянию от верхнего порожка до 1-го лада. Оставшийся отрезок снова делят на 17,8. Полученная величина равна расстоянию от 1-го лада до 2-го. Оставшийся отрезок снова делят на 17,8 и т. д.
Еще проще и удобнее разбивку грифа производить графически, как это показано на рисунке 2.
В нашей гитаре, кроме обычных элементов, установлена регулируемая подставка (рис. 3), с помощью которой можно изменять положение струн относительно звукоснимателя. Сами струны крепятся к специальному держателю (рис. 4).
На корпусе расположены также штепсельная розетка для включения соединительного кабеля и металлические грибообразные головки, к которым крепится ремешок. Звукосниматель и регуляторы устанавливаются на декоративной панели.
|